


GQF-C型橋梁伸縮縫裝置是適應我國公路橋梁建設的一種新型橋梁伸縮縫裝置.GQF-C型橋梁伸縮縫裝置采用整體熱軋16Mn異型鋼,克服
了擠壓異型鋼直線度和集合尺寸不均勻的特點,
GQF-C型橋梁伸縮縫裝置產品特點:
建筑高度低,國產熱軋整體成型異型鋼材高度僅50mm,結構簡單,安裝方便,具有明顯的可靠性,舒適性和耐久性.適用于橋面鋪裝層厚度等于或大于80mm,伸縮量小于等于80mm的各種橋梁,既方便舊橋梁伸縮裝置更換,又可供新橋梁修建選用.
GQF-C型橋梁伸縮縫裝置中間橡膠密封條其技術要求:
采用氯丁橡膠(CR)密封橡膠帶的伸縮裝置適用與溫度為-25℃-+60℃地區.采用天然橡膠(NR)密封橡膠帶的伸縮縫裝置適用于溫度為-40℃-+60℃地區.
GQF-C40 60 80型 橋梁伸縮縫裝置代號表示方法及意義:
GQF-C 型、GQF-Z 型、GQF-F 型、GQF-L 型伸縮裝置適用于伸縮量80mm 以下的橋梁接縫,是采用熱軋整體成型的異型鋼材設計的橋梁伸縮裝置,由邊梁和橡膠密封帶組成的單縫式伸縮裝置,適用于伸縮量不大于80mm的公路橋梁伸縮縫。
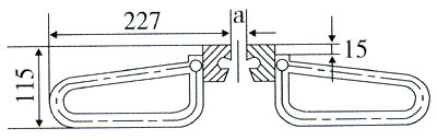
0-80mm型各種規格總體尺寸與安裝示意圖
GQF-C型橋梁伸縮縫裝置序號 伸縮裝置斷面圖 伸縮裝置安裝示意圖:





