
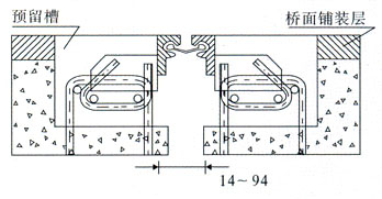
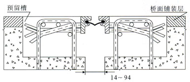
GQF-F型橋梁伸縮裝置



GQF-F型橋梁伸縮裝置是適應我國公路橋梁建設的一種新型橋梁伸縮縫裝置.GQF-F型橋梁伸縮裝置采用整體熱軋16Mn異型鋼,克服了擠壓異型鋼直線度和集合尺寸不均勻的特點,G
GQF-F型橋梁伸縮裝置產品特點:
建筑高度低,國產熱軋整體成型異型鋼材高度僅50mm,結構簡單,安裝方便,具有明顯的可靠性,舒適性和耐久性.適用于橋面鋪裝層厚度等于或大于80mm,伸縮量小于等于80mm的各種橋梁,既方便舊橋梁伸縮裝置更換,又可供新橋梁修建選用.
GQF-F型橋梁伸縮裝置中間橡膠密封條其技術要求:
采用氯丁橡膠(CR)密封橡膠帶的伸縮裝置適用與溫度為-25℃-+60℃地區.采用天然橡膠(NR)密封橡膠帶的[1]裝置適用于溫度為-40℃-+60℃地區.
GQF-F型橋梁伸縮裝置表示方法:





