



HDR系列高阻尼隔震橡膠支座是按照現行殛行業相關標準,同時參考歐洲標準哥制開為梁構件產品。該產品系列分為矩開;固定型、圓形固定型、矩形滑動型、圓形滑動型四種類型、于8度及8度以下地震區各類公路及市政橋梁。
支座分類:
3.1按功能形式分為
3.1.1固定型隔振支座:支座的位移通過橡膠剪切變形實現,橡膠的水平剪切能承受較大的水
力,通過高阻尼橡膠在水平方向的大位移剪切變形殛滯回耗能實現減隔震功能;
3.1.2滑動型隔振支座:支座的位移通過頂面設置的聚四氟乙烯滑板與不銹鋼板組成滑動摩擦
實現,低摩擦系數使支座承受較小的摩擦力,通過滑動摩擦副滑動實現減隔震功能。
HDR系列高阻尼隔震橡膠支座
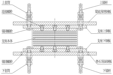
Ⅰ型——支座與墩、梁之間采用套筒連接,支座頂面、底面均設預埋鋼板,上、下支座板和套筒之間采用錨固螺栓連接,上、下預埋鋼板與套筒之間采用配合焊接。
HDR(Ⅰ)高阻尼隔震橡膠支座結構示意圖(固定型)


Ⅱ型——支座與墩、梁之間采用套筒連接,支座底面不設預埋鋼板,底鋼板和套筒之間采用錨固螺栓連
接,上預埋板與頂鋼板之間采用卡榫連接,上預埋鋼板與套筒之間采用配合焊接。
HDR(Ⅱ)高阻尼隔震橡膠支座結構示意圖(固定型)


滑動型支座的產品結構示意圖如下:
HDR高阻尼隔震橡膠支座結構示意圖(滑動型)

HDR系列高阻尼隔震橡膠支座示意圖:
